OEM 2,4mm RF koaxiální konektor Supplier

Ningbo Hanson Communication Technology Co., Ltd. Domov / Produkty / RF koaxiální konektor / 2,4mm RF koaxiální konektor

2,4mm RF koaxiální konektor

Popis:

Konektor řady 2,4 mm je vysokofrekvenční RF konektor určený pro vysoce přesné vysokofrekvenční aplikace, zejména pro případy přenosu signálu, které vyžadují rozsah přenosové frekvence 40 GHz nebo dokonce vyšší. Je ideální volbou pro poskytování vysoce výkonných signálových spojení v mikrovlnném frekvenčním pásmu, vysokorychlostní komunikaci a precizní testovací a měřicí pole.

Parametr:

Hlavní technické specifikace:
◆ Charakteristická impedance: 50Ω
◆ Frekvenční rozsah: DC-50GHz
◆ Izolační odpor: ≥5000MΩ
◆ Dielektrické výdržné napětí: 500V (rms)
◆ Poměr stojatých vln napětí (VSWR): ≤1,35
◆ Párovací cykly: 500 krát

Zeptejte se

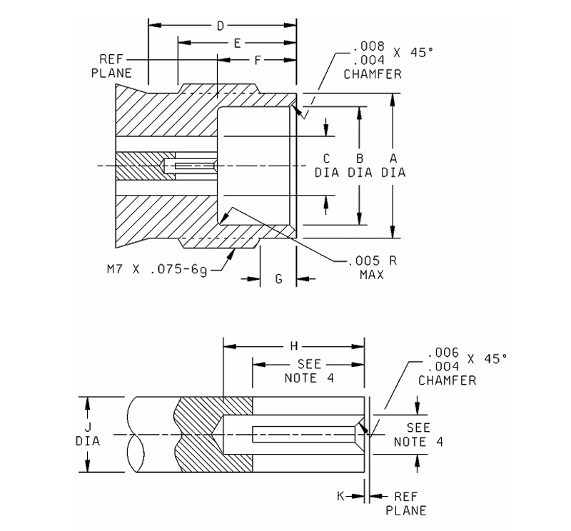
Dopis Milimetry (palce)
Minimální Maximum
A 4,725 (0,186) 4,75 (0,187)
B 2,393 (0,094) 2 408 (095)
C 1,85 (0,073) 2,45 (0,096)
E 4,75 (.187) 4,85 (0,191)
F 1,035 (.0407) 1,05 (0,0413)
G 1,34 (0,053) 1,45 (0,057)
H 0,498 (,0196) 0,523 (0,0206)
J ---------- 0,25 (0,010)
K 0,00 (,000) 0,08 (0,003)

Poznámky:
1. Délka závitu je od konce spojovací matice, minimálně 4,37 mm (0,172 palce), 0,63 mm (0,025 palce) ± 0,25 mm (0,010 palce).
2. Se spojovací maticí předepjatou směrem dopředu.
3. Rozměry jsou v milimetrech.
4. Ekvivalenty v palcích a librách jsou uvedeny pouze pro informaci.
5. Předvrtání minimálně 7 mm (0,276 palce).

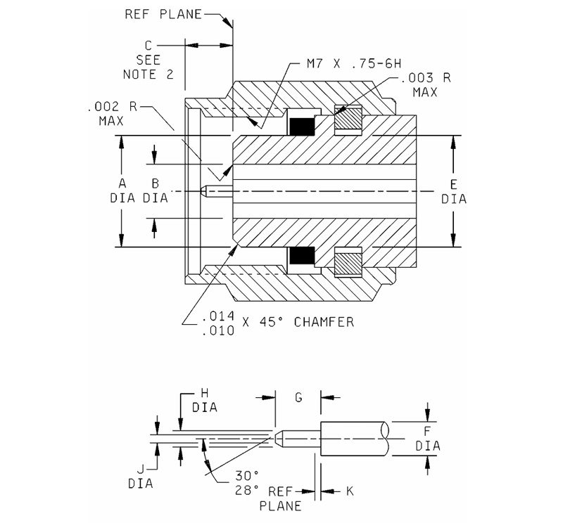
Dopis Milimetry (palce)
Minimální Maximum
A 4,725 (0,186) 4,75 (187)
B 2,393 (0,094) 2,408 (0,095)
C 1,85 (0,073) 2,45 (0,096)
E 4,75 (.187) 4,85 (0,191)
F 1,035 (.0407) 1,05 (0,0413)
G 1,34 (0,053) 1,45 (0,057)
H 0,498 (0,0196) 0,523 (0,0206)
J -------- 0,25 (0,010)
K 0,00 (,000) 0,08 (0,003)

Poznámky:
1. Délka závitu je od konce spojovací matice, minimálně 4,37 mm (0,172 palce), 0,63 mm (0,025 palce) ± 0,25 mm (0,010 palce).
2. Se spojovací maticí předepjatou směrem dopředu.
3. Rozměry jsou v milimetrech.
4. Ekvivalenty v palcích a librách jsou uvedeny pouze pro informaci.
5. Předvrtání minimálně 7 mm (0,276 palce).

2,4 mm $ $ SERIES
  • 2,4-JB2
    2,4-JB2
    Model Typ kabelu
    2,4-JB2 SFT-50-2,670-086
  • 2.4-J125
    2.4-J125
    Model Typ kabelu
    2,4-J125 125
  • 2.4-J230
    2.4-J230
    Model Typ kabelu
    2.4-J230 MILFLEX 230 $ $

BUĎTE V KONTAKTU

[#vstup#]
ODESLAT
O nás
Ningbo Hanson Communication Technology Co., Ltd.
Ningbo Hanson Communication Technology Co., Ltd.
Ningbo Hanson Communication Technology Co., Ltd. is China 2,4mm RF koaxiální konektor Supplier and Custom 2,4mm RF koaxiální konektor Company. We are a manufacturer specializing in the production, processing, and trade of communication components, with more than 30 years of experience in RF coaxial connectors, adapters, and cable assemblies. Společnost nyní vybudovala vlastní obráběcí dílnu, galvanizační dílnu, montážní dílnu a skupinu stabilních a spolehlivých dodavatelů. Cílem společnosti je poskytovat zákazníkům vysoce kvalitní produkty. Hlavní produkty jsou RF koaxiální konektory, adaptéry, vysokofrekvenční kabelové sestavy a kabelové sestavy s nízkou intermodulací. Kromě toho může společnost také poskytovat služby zákazníkům s přizpůsobenými potřebami, aby splnila speciální požadavky zákazníků na produkty. Produkty společnosti jsou široce používány v letectví, komunikačních základnových stanicích, lékařském vybavení a dalších high-tech oblastech. V době podnikové reformy, inovací, rozvoje a růstu se společnost ujala iniciativy a připojila se k mezinárodnímu systému řízení kvality ISO9001 a neustále zlepšovala úroveň řízení, aby mohla novým i starým zákazníkům poskytovat uspokojivější produkty a služby.
Nejnovější zprávy
Hledáte obchodní příležitost?

Žádost o zavolání ještě dnes